TC-RS485-1-V1信號隔離器使用說明書
免責聲明:本網頁內容來自源于網絡共享,若無意中侵犯了您的知識產權或版權,我們深表歉意,煩請聯系我們,我們將在規定時間內給予刪除等相關處理。另外,此內容僅供瀏覽和參考之用,真實性請自行辨別,我公司不承擔任何責任!
如需PDF格式版本,請調出打印窗口,在選項中選擇“另存為PDF”!
感謝您選擇我司通訊隔離器產品,為了方便您選購和安全、正確、高效的使用本產品,請仔細閱讀本說明書并在使用時務必注意以下幾點:
注意:
1. 該裝置必須有專業人員進行安裝與檢修;
2. 在對該裝置進行任何外問接線操作前、必須切斷輸入信號和電源;
3. 使用合適的電壓檢測裝置來確定該裝置各部有無電壓;
4. 提供給該裝置的參數需在額定范圍內;
5. 給裝置上電時確認電源是否符合該裝置的工作電壓范圍;
6. 檢修時請確認電閘已經拉下,并確認無電;


■概述
RS- 485分路器,將工業現場RS-485信號隔離、放大、轉換為多路RS-485信號。該產品需要獨立供電;采用DIN35mm標準導軌獨立式安裝方式(可選總線供電功能) 輸入、輸出隔離。
■主要技術參數
| 輸入端 | 輸出端 | |
| 通道數 | 1 | 1 |
| 信號類型 | RS-485數字信號 | RS-485數字信號 |
| 信號電平規則 | 標準RS - 485差分電平 | 標準RS - 485差分電平 |
| 傳輸延時 | ≤10μs | ≤10μs |
| 波特率 | 300~230400 bps(自適應) | 300~230400 bps(自適應) |
| 傳輸控制方式 | 半雙工(收發自動切換) | 半雙工(收發自動切換) |
| 通信距離 | 1200m(TYP) | 1200m(TYP) |
基本參數
電源 : DC24V,電壓范圍: DC9~30V
消耗電流:≤50mA
絕緣強度: 1500V AC/1min(輸入、輸出之間)
絕緣電阻:≥100MΩ(輸入、輸出之間)
工作溫度范圍: -20~+55*C
電磁兼容性:符合GB/T 18268.1(1EC61326-1)
適用現場設備:帶有RS-485接口的設備
■使用環境
(1)本設備防護等級為IP20安裝時需注意環境條件(防水以及小的異物),適于在控制室或高密儀表機柜內安裝使用,周圍環境中不得有強烈振動、沖擊以及大電流和火花等電磁感應影響,使用環境中不得有對金屬、塑料件起嚴重腐蝕作用的有害物質。應不含有易燃、易爆的物質。
(2)本設備適用于IEC/EN 60664-1所確定的2級污染等級,皿類過電壓等級環境。如需在更高的污染等級區域使用,需對本設備增加相應的保護。
(3)儲存溫度: -40C ~+ 80°C
(4)相對濕度: 10%~90%R H
■應用

■指示燈示意圖

■外形尺寸
外形尺寸(深x高x寬) 115mmx 106.5mmx12.5mm

■安裝
RS-485分路器均采用DIN35mm導軌安裝方式。導軌應符合標準號為: GB/T19334- 2003的國家標準中TH35-7.5型導軌的尺寸規范。該標準等同于國際電工委員會|EC6071 5-1 981的國際標準。安裝必須穩定牢固。建議使用導軌堵頭防止儀表安裝在導軌上滑動和安裝不穩。
安裝步驟如下:
| (1)把儀表上端卡在導軌上; (2)把儀表下端推進導軌。 |
|
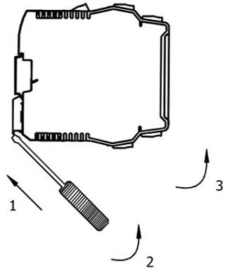
■拆卸
| (1) 用螺絲刀(刀口寬度≤6mm)插入儀表下端的金屬卡鎖; (2) 螺絲刀向上推,把金屬卡鎖向下撬; (3)儀表向上拉出導軌。 |
|
■接線
(1)接線電纜采用截面為0.5~ 2.5 mm2的單芯或多芯電纜,剝去電纜防護層的線芯長度約為6~8mm。
(2)端子接線由M3螺絲緊固。
(3)請參照端子接線圖進行連接。

■維護
(1) RS-485分路器進行通電調試前,必須再次檢查輸入與輸出的接線以及電源和信號的極性是否正確。
(2)嚴禁用兆歐表測試分路器端子之間的絕緣性。若要檢查系統線路絕緣性時,應先斷開全部信號隔離器的接線,否則會引起內部器件的損壞;
(3)產品在出廠前均經過嚴格檢驗和質量控制,如發現工作不正常,懷疑內部模塊有故障,請及時同附近的代理商或直接與本公司技術支持熱線聯系;




